

描述
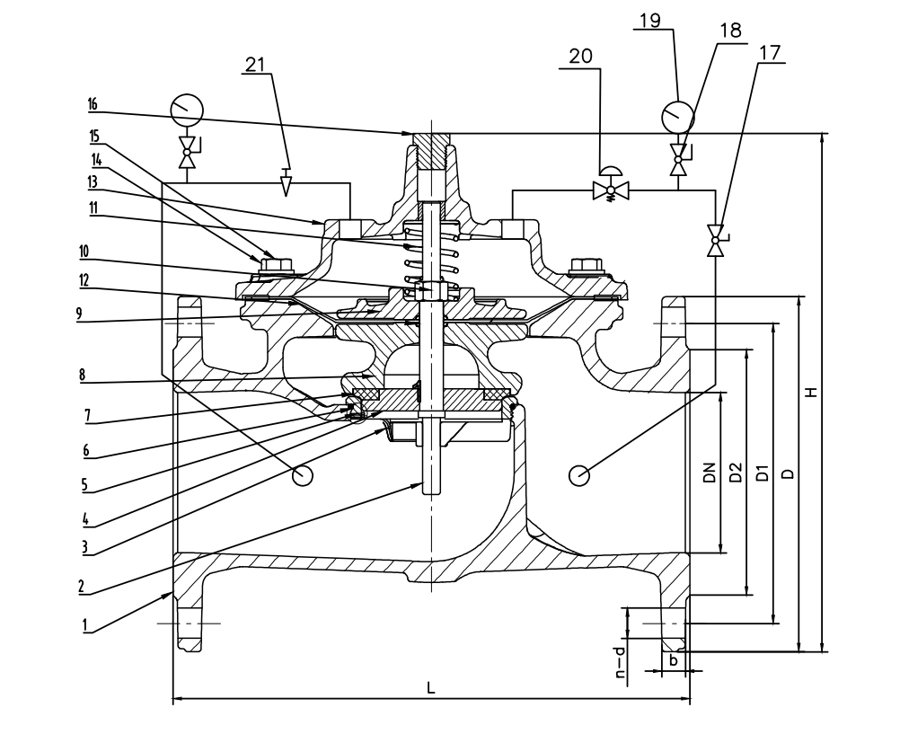
我們的減壓閥是一種液壓驅動,先導閥控制的控制閥。不管流量和/或進口壓力的變化,自動將較高的進口壓力降低到穩定的較低的下游壓力。
這種閥門是一種精確的先導操作調節閥,能夠將下游壓力保持在預先確定的極限。無論閥門前的流量或壓力如何波動和變化,閥門都能將閥前的高壓降低到閥后的低壓并保持穩定,即使閥門沒有用戶用水。可保持出口壓力穩定。
特點:
?100%水密性
在包裝和發貨前進行100%的檢測
?完全自由和全孔,自清洗和低壓力損失。
?閥蓋螺栓采用不銹鋼304
?手動開關
?容易和零調整需求壓力
?不受網絡壓力和流量變化的影響而降低壓力。
?易于維護,壓力損失最小,開啟閥門根據需求流量自由流動。
?涂層采用磷化處理,表面干燥,使用壽命長
?環氧粉末涂料
?在可變流量中執行完美的調制,甚至過低的流量接近于零
技術參數





銅陵愛閥科技有限公司 版權所有